|
Farmor Manufacturing Company Lamps, page 2
Page 1: Farmor company history, burner, chimney and mantle details
The Farmor Manufacturing Company manufactured and sold non pressurized kerosene mantle lamps under the LIGHTMASTER brand name for Sears, under their own name and under the Sun Flame name for Sun flame Ltd. a division of Secony Mobil Oil Corp. The Farmor Manufacturing company also sold more than one million "Fu Manchu" lamps to Sun Flame Ltd between1945 and 1948 who resold these lamps in China. Production of the "Fu Manchu" lamps ceased soon after China went communist and the United States government halted export products made from brass and aluminum to China. Farmor sold this lamp domestically as an Emergency lamp.
A detailed history of the Farmor manufacturing company is located on another page.
All the Farmor lamps were available with Parchment shades. Pre-WWII shades are 16 inches in diameter at the base. The ceramic lamp had a pleated 16 inch shade. WWII and later parchment shades were 15 inch diameter at the base.
Ceramic Lamp:
The
Farmor ceramic lamp was sold by Sears under the name "Sears Number 1 LIGHTMASTER"
The lamp is 8-1/2 inches in diameter at the base. The base has a felt pad. The lamp holds 1-1/2 quarts of kerosene and came in eggshell white, black and brown
Farmor usually pairs nickel plated burners with Chromed and clear glass lamps and brass burners with white glass lamps. The ceramic lamp above is the exception.
Deco style glass lamps:
 |
The Deco style glass lamp came in clear glass and frosted glass. These lamps were widely sold and are probably the most common of the Farmor lamps. Like all the other Farmor glass lamps these were manufactured by Dunbar Glass, located in West Virginia. Kerosene capacity is 1 quart. The overall height is 24-1/2 inches.
|
Deco glass lamp burner and filler camp collars. The brass collar ring usually had a single continuous crimp around the side of the collar but a few lamps have been found with two crimps.
An Aladdin model B filler cap is a direct replacement as are the Aladdin replacement cork gaskets
Lamps made during WWII had steel collars, filler caps and threads. |
 |
Deco style metal lamp:
 |
This lamp has a chrome plated brass bowl and foot. The stem is stained walnut The lamp stands 26-1/2 inches overall and holds 1 quart of kerosene.
This lamp was the favorite design of the company founder, Bill Keller. |
Classic bell stem lamp:
 |
The classic bell stem table lamp has an overall height of about 26 inches and holds one quart of kerosene.
Clear lamps were sold under the Farmor name. White glass lamps with a recessed filler were sold under the Sun Flame name.
Clear Classic bell stem lamp sold during WWII had a steel collar and steel filler. Pre WWII versions had brass collars and fillers. |
 |
 |
This is a jpeg of an original company photograph showing one of the shades that came with the Farmor Classic Bell Stem table lamp.
|
Ceramic vase lamp:
 |
This ivory coloured vase lamp has an overall height of 28 inches.
The oil pot is the industry standard 5 inch base diameter which means it could be used with any of the earlier "gone with the wind" style lamps as a lighting upgrade. The oil pot holds one quart of kerosene.
|

Burner with plastic knob broken off
|
Classic glass lamp:
 |
Farmor Classic clear glass lamp with shade. From looking at the original photograph the scrolling leaf pattern on the shade appears to be silver.
This is jpeg from an original factory photograph |
 |
This is a picture of the Farmor floor lamp. It was developed shortly before the beginning of WWII and was only in production a short time before the government restrictions on strategic materials halted its production. After the war kerosene lamp sales were not high enough to warrant it being put into production.
|
 |
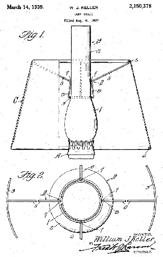
This patent drawing shows the shade holder for Farmor lamps was part of the shade upper ring.
Pre WWII, the 16 inch shades were originally produced by a company called Bradly (address lost),
Later shades, most if not all 15 inch bottom dia. were produced by Wallace Shade Co., St. Louis, MO. |
Emergency lamp
 |
This lamp was manufactured by Farmor Manufacturing Co. and sold by both Farmor and Sun Flame. Sun Flame sold over one million of these lamps into China between 1945 and 1948.
Farmor sold these lamps as emergency lighting lamps.
The lamp is designed to be a hand carry, wall mount and table or shelf lamp. It holds 8 oz. of kerosene and as advertised to burn for 10 hours on a full lamp. The overall height is 9 inches. The chimney is 6-1/4 inches tall, 2 inch dia at base and 1-1/2 inch dia. at top. The lamp base and reflector is aluminum
The bottom of the lamp is labeled "Patent Pending, DIAMOND Made in U.S.A."
|
 |
 |
This lamp uses a Plume & Atwood Eagle burner with a 3/8th inch wide flat wick. |
 |
|
| If you would like to discuss any of the contents
please feel free to
.
© 2002, 2006 by TeriAnn
Wakeman. All rights reserved Web
site design by Marigold
Ltd.
This web site is not affiliated with Aladdin Mantle Lamp Company.
Aladdin, and Lox-on are registered trademarks of Aladdin Industries
LLC
|